Discount Fleet Supply is now Great American Inc. Click Here for more information.

menu

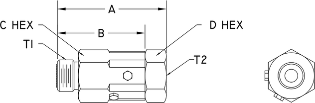
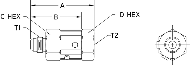
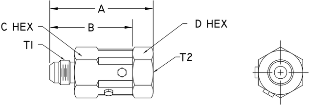
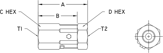
Hydraulics Inc. GS8J10-JF10 IN-LINE SWIVEL

SKU: GS8J10-JF10
$70.67
Each
Usually ships within 4-10 days
remove
add

Specifications

SKUGS8J10-JF10