Discount Fleet Supply is now Great American Inc. Click Here for more information.

menu

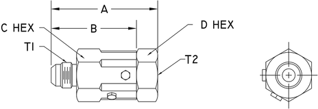
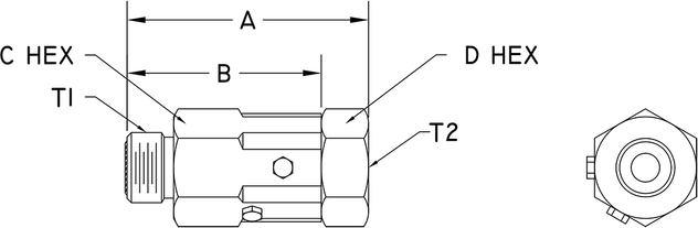
Hydraulics Inc. HS8J8-JF8 HEAVY DUTY INLINE SWIVEL

SKU: HS8J8-JF8
$160.25
Each
Usually ships within 4-10 days
remove
add

Specifications

SKUHS8J8-JF8