Discount Fleet Supply is now Great American Inc. Click Here for more information.

menu

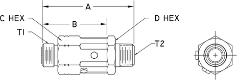
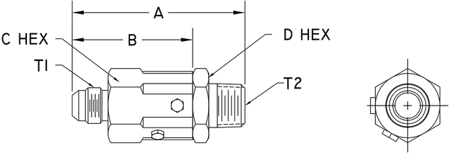
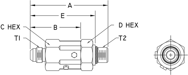
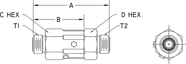
Hydraulics Inc. HS24F24-P24 HEAVY DUTY INLINE SWIVEL

SKU: HS24F24-P24
$526.74
Each
Usually ships within 4-10 days
remove
add

Specifications

SKUHS24F24-P24