Discount Fleet Supply is now Great American Inc. Click Here for more information.

menu

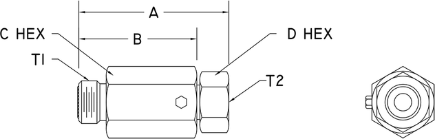
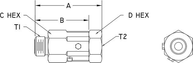
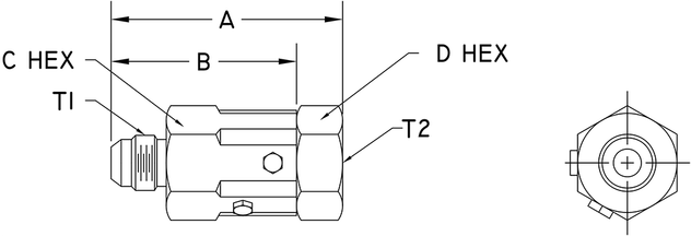
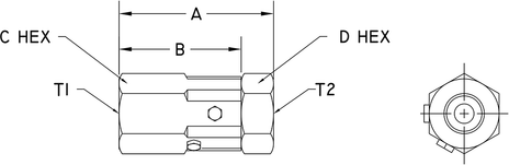
Hydraulics Inc. HS16PF16-JF16 HEAVY DUTY INLINE SWIVEL

SKU: HS16PF16-JF16
$187.58
Each
Usually ships within 4-10 days
remove
add

Specifications

SKUHS16PF16-JF16