Discount Fleet Supply is now Great American Inc. Click Here for more information.

menu

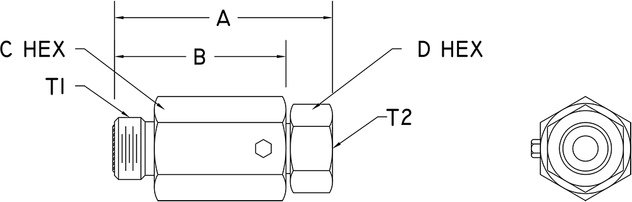
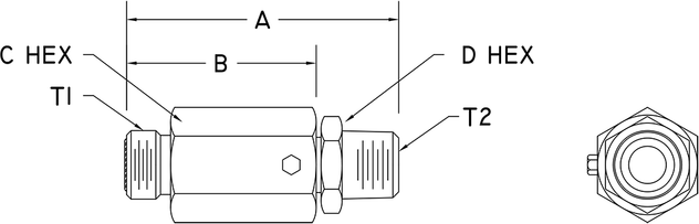
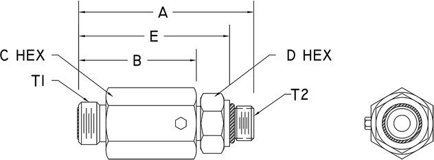
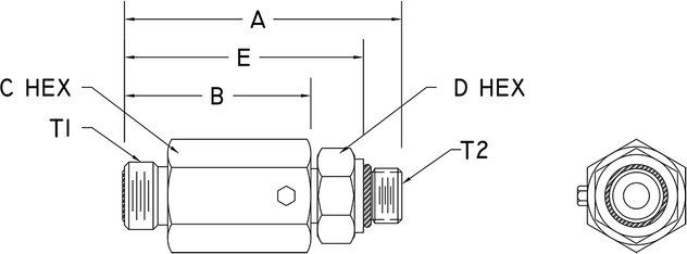
Hydraulics Inc. S8F12-F12-3 IN-LINE SWIVEL

SKU: S8F12-F12-3
$73.70
Each
Usually ships within 4-10 days
remove
add

Specifications

SKUS8F12-F12-3